概述
南通聯振重工機械有限公司生產的GZD系列慣性振動給料斗是兼有破拱、給料、關閉三種功能的設備。GZD系列慣性振動給料斗廣泛應用于煤炭、電力、機械、化工、建材、冶金、礦山、輕工、食品、糧食、醫藥、交通運輸等部門的散體物料料倉破拱、給料、關閉等作業。

慣性振動給料斗特點
- 兼有破拱、給料、關閉作用。破拱助流能力強;給料松散、連續、均勻、準確;振動停止,物料即停止卸出。
- 給料量可調,易于實現單機或群機自動控制,排料過程中無物料粒度偏析,并有一定的混合作用。
- 結構簡單,安裝操作簡便;運行可靠,維修方便。
- 重量輕、耗電少、運行費用低、隔振好、磨損少、噪音低。
- 安裝高度低,可取代料倉錐體或部分錐體,不需要基礎和附加裝置。
- 密封性好,實現封閉給料,無需局部除塵或防毒。
型號說明

技術參數
| 型 號 | 直 徑 | 生產率 | 糧倉直徑 | 糧倉容量 | 電動功率(kw) | 振動頻率 | 電壓 | 重量 |
| (mm) | (t/h) | (mm) | (m3) | (r/min) | (v) | (t) | ||
| GD06PA | 600 | 30~40 | 900~1200 | 5~15 | 0.25 | 1450 | 380 | 0.13 |
| GD10PA | 1000 | 40~80 | 1500~2000 | 10~50 | 0.75 | 960 | 380 | 0.38 |
| GD12PA | 1200 | 40~80 | 1800~2400 | 30~60 | 1.1 | 960 | 380 | 0.52 |
| GD15PA | 1500 | 40~80 | 2250~3000 | 50~100 | 1.5 | 960 | 380 | 0.87 |
| GD20PA | 2000 | 80~150 | 3000~4000 | 80~160 | 2×1.1 | 960 | 380 | 1.1 |
| GD25PA | 2500 | 80~150 | 3600~5000 | 100~120 | 2×1.5 | 960 | 380 | 1.65 |
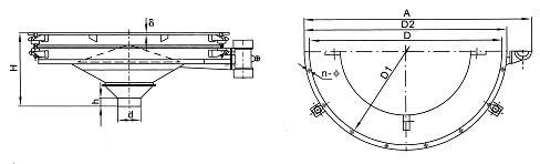
結構示意圖

| 型 號 | D | D1 | D2 | d | A | h | H | N | 外形尺寸 | |
| A×D2×H | ||||||||||
| GD06PA | 600 | 640 | 680 | 180 | 1068 | 50 | 424 | 10 | 12月13日 | 1068×680×430 |
| GD10PA | 1000 | 1070 | 1130 | 200 | 1663 | 60 | 600 | 12 | 13-18 | 1663×1130×600 |
| GD12PA | 1200 | 1290 | 1350 | 200 | 1890 | 60 | 620 | 12 | 16-20 | 1690×1350×620 |
| GD15PA | 1500 | 1590 | 1670 | 300 | 2040 | 60 | 815 | 12 | 18-22 | 2040×1670×815 |
| GD20PA | 2000 | 2090 | 2170 | 300 | 2820 | 60 | 1000 | 16 | 24-22 | 2820×2170×1000 |
| GD25PA | 2500 | 2590 | 2650 | 300 | 3430 | 65 | 1200 | 16 | 30-22 | 3430×2650×1200 |








蘇公網安備 32062102000295號